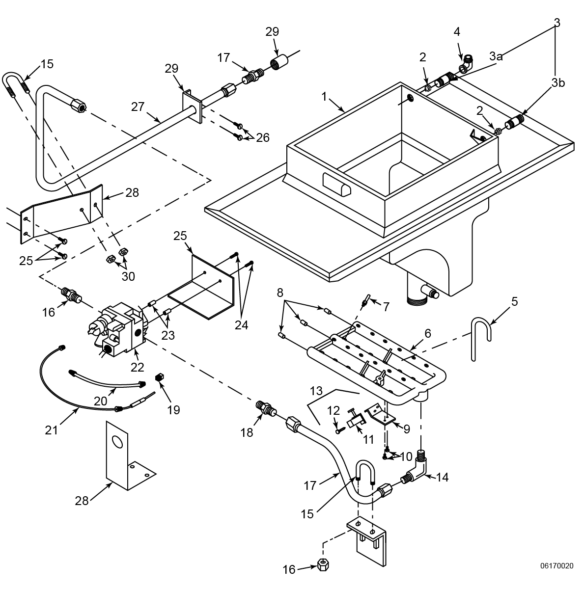
Vat and Gas Burner Assemblies
Vat and Gas Burner Assembly - Domestic with Electronic Ignition

| Item No. | Part No. | Description | Qty. | Stocking Level |
|---|---|---|---|---|
| 1 | N/A | Vat and counter top assembly (before KA020JJ) (Discontinued, See Memo) | 1 | |
| 1 | 65007 | Vat and counter top assembly (KA021JJ and after) | 1 | |
| 1 | N/A | Vat and counter top assembly, FPS (before KA020JJ) (Discontinued, See Memo) | 1 | |
| 1 | 69722 | Vat and counter top assembly, FPS (KA021JJ and after) | 1 | |
| 1 | 65010 | Vat and counter top assembly, Pollo Campero (KA021JJ and after) | 1 | |
| 1 | 65011 | Vat and counter top assembly, CE (KA021JJ and after (before use 16889 ) | 1 | |
| 2 | 17154 | Vat fitting, SS, 1-1/8 diameter | 2 | |
| 3 | 18816 | Pipe nipple, SS | 2 | |
| 3a | Pipe nipple (See Deadweight Assembly) | |||
| 3b | Pipe nipple (See Solenoid Valve Assembly) | |||
| 4 | Elbow (See Deadweight Assembly) | |||
| 5 | 53834 | Burner hold down J-bolt | 1 | |
| 6 | 178145-XX | Burner assembly. See Burner Assembly and Orifice Set. Note: Serial number required. | 1 | |
| 7 | 17013-XX | Burner orifice set | 1 | |
| 8 | FP01-020 | - Burner casting plug | 3 | |
| 9 | 29969 | Pilot holder bracket | 1 | |
| 10 | SC01-184 | Pilot holder bracket screw | 2 | |
| 11 | use #13 | Pilot and orifice assembly | 1 | |
| 12 | SC01-047 | Pilot holder screw | 1 | |
| 13 | 30904 | Pilot and bracket assembly, LP gas (before AN0703021) | 1 | A |
| 13 | 30913 | Pilot and bracket assembly, natural gas (before AN0703021) | 1 | A |
| 14 | 16336 | Male elbow | 1 | |
| 14 | FP01-014 | Elbow , 1/8 in (AN0901029 and after) | 1 | |
| 15 | SC06-013 | Gas line u-bolt | 2 | |
| 16 | NS02-002 | Gas supply line bolt nut | 4 | |
| 17 | 16333 | Gas burner to control line | 1 | B |
| 17 | 67202 | Burner to valve tube assembly (SSI) | 1 | B |
| 17 | 79239 | Burner to valve tube assembly (AN0901029 and after) | 1 | B |
| 18 | 16335 | Close nipple | 3 | |
| 19 | 29820 | Pilot orifice, natural gas | 1 | |
| 19 | 32407 | Pilot orifice. propane gas | 1 | |
| 20 | 69450 | Gas tube pilot assembly | 1 | |
| 21 | 16219 | Thermocouple | 1 | A |
| 22 | - - - - - | See Gas Valves table. | 1 | A |
| 23 | 16221 | Heat shield spacer | 2 | |
| 23 | ME50-066 | Heat shield spacer (AN0901029 and after) | 2 | |
| 24 | SC01-054 | Heat shield screw | 2 | |
| 24 | SC02-045 | Heat shield screw (AN0901029 and after) | 2 | |
| 25 | 58866 | Heat shield, aluminum (before KA021JJ) | 1 | |
| 25 | 67111 | Valve heat shield, SSI (KA021JJ to AN0901028) | 1 | |
| 25 | 79197 | Valve heat shield (AN0901029 and after) | 1 | |
| 26 | SC02-006 | Bracket screw | 4 | |
| 27 | 40304 | Gas supply line (before KA020JJ) | 1 | |
| 27 | 16326 | Gas supply line | 1 | |
| 28 | 16331 | Gas line bracket | 1 | |
| 29 | FP01-007 | Pipe coupling | 1 | |
| 30 | 24687 | Gas valve adjustment screw guard | 1 | |
| 31 | NS02-002 | Gas supply line nut (for bolt) | 2 | |
| 32* | 16328 | Gas line bracket | 1 | |
| 33* | 14484 | Gas line w/ quick disconnect kit, 3/4 in. x 5 ft. | 1 | |
| 34* | 16329 | 37° flare for 5/8 in. OD nut | 2 | |
| 35* | 16330 | 37° flare for 5/8 in. sleeve | 2 | |
| 36* | 140645 | Vat insulation kit | 1 | |
| Recommended Parts: A = Truck Stock; B = Dist. Stock * = Not Shown NOTE: SSI - Solid State (Electronic) Ignition | ||||
Gas Line and Burner Assembly - CE / International with Electronic Ignition
| Item No. | Part No. | Description | Qty. | Stocking Level |
|---|---|---|---|---|
| 1 | 178145-XX | Burner assembly. See Burner Assembly and Orifice Set. Note: Serial number required. | 1 | |
| 2 | 17013-XX | Burner orifice set | 1 | |
| 3 | FP01-020 | - Burner casting plug | 3 | |
| 4 | 29969 | Pilot holder bracket | 1 | |
| 5 | SC01-184 | Pilot holder bracket screw | 2 | |
| 6 | use #8 | Pilot and orifice assembly | 1 | |
| 7 | SC01-047 | Pilot holder screw | 1 | |
| 8 | 30904 | Pilot bracket assembly, LP (before AN0703021) | 1 | |
| 8 | 30913 | Pilot bracket assembly, NAT (before AN0703021) | 1 | |
| 9 | 16336 | Male elbow | 1 | |
| 10 | 53834 | Burner hold down J-bolt | 1 | |
| 11 | NS02-002 | Gas supply line nut (for bolt) | 4 | |
| 12 | 38464 | Gas burner to control line | 1 | |
| 13 | 16335 | Close nipple | 2 | |
| 14 | 29820 | Pilot orifice, natural gas | 1 | |
| 14 | 32407 | Pilot orifice, propane gas | 1 | |
| 15 | 69450 | Gas tube pilot assembly | 1 | |
| 16 | 16219 | Thermocouple | 1 | |
| 16 | 34820 | Thermocouple, CE | 1 | |
| 17 | - - - - - | See Gas Valves table. | 1 | |
| 18 | 16221 | Heat shield spacer | 2 | |
| 19 | SC01-054 | Heat shield screw | 2 | |
| 20 | 16222 | Aluminum heat shield | 1 | |
| 21 | SC02-006 | Bracket screw | 4 | |
| 22 | 51429 | Gas supply line, natural, CE, Australia, excluding France & Belgium | 1 | |
| 22 | 51429 | Gas supply line, LP, CE, Australia, France, & Belgium | 1 | |
| 22 | 67558 | Gas supply line, natural, France & Belgium | 1 | |
| 23 | 16328 | Gas line bracket | 1 | |
| 24 | FP01-007 | Pipe coupling | 1 | |
| 25 | 56229 | Gas control valve wire cover, CE | 1 | |
| 26 | 169843 | Gas solenoid valve, 240v (CE & Australia) | 1 | |
| 26 | 176162 | Gas solenoid valve service pack, 24v (CE & Australia) | 1 | |
| 26 | 176163 | Gas solenoid valve service pack, 24v, direct connect | 1 | |
| 26 | 170708 | - Safety valve connector w/ wiring assembly (CE & Australia) | 1 | |
| 27 | FP02-062 | 1/2 NPT x 1.75 in. long nipple | 1 | |
| 28 | SC06-013 | Gas line U-bolt | 1 | |
| 29 | 51428 | Gas valve supply tube | 1 | B |
| 30 | 45401 | 1/2 in. gas ball valve | 1 | |
| 31* | FP01-014 | 1/8 in. Z elbow | 1 | |
| 32* | FP01-200 | Gas inlet BSPT thread fitting | 1 | |
| 33* | 16355 | Pressure test nipple | 1 | |
| Recommended Parts: A = Truck Stock; B = Dist. Stock * = Not Shown NOTE: SSI - Solid State (Electronic) Ignition | ||||
Gas Flex Line
| Length | Diameter | Part No. | Description | Qty. |
|---|---|---|---|---|
| 36” | 1/2” | 03749 | Gas flex line w/ installation kit (w/ QD) | A/R |
| 48” | 1/2” | 03750 (N/A) | Gas flex line w/ installation kit (1 in. QD) (No longer available through HP.) | A/R |
| 48” | 1/2” | 03751 | Gas flex line w/ installation kit (2 swivel) | A/R |
| 36” | 3/4’ | 03752 | Gas flex line w/ installation kit (w/ QD) | A/R |
| 38” | 3/4’ | 03753 | Gas flex line w/ installation kit (valve) | A/R |
| 60” | 3/4’ | 03754 | Gas flex line w/ installation kit (1 in. QD) | A/R |
| 48” | 3/4’ | 03747 | Gas flex line w/ installation kit (2 swivel) | A/R |
| 3/4" | 161559 | Valve, 3/4 in NPT, quick disconnect (Q.D. only, no gas line) | A/R | |
| 72” | 1” | 03755 | Gas flex line w/ installation kit (2 threaded connectors) | A/R |
| 33” | 1” | 03756 | Gas flex line w/ installation kit (1 in. QD adapter, valve, elbow) | A/R |
| 48” | 1” | 03757 | Gas flex line w/ installation kit (2 swivel) | A/R |
| 72” | 1” | 03758 | Gas flex line w/ installation kit (1 in. QD adapter, valve, elbow) | A/R |
| 60” | 1” | 03759 | Gas flex line w/ installation kit (2 swivel + 1 QD) | A/R |
| 1" | 160329 | Valve, 1 in NPT, quick disconnect (Q.D. only, no gas line) | A/R |
Burner Assembly and Orifice Set
| Burner Assembly | Burner Orifice Set | Gas Type | Altitude (ft) | Location |
|---|---|---|---|---|
| 178145-1 | 17013-1 | Natural | < 2,500 | Global |
| 178145-2 | 17013-2 | Manufactured | < 2,500 | Global |
| 178145-3 | 17013-3 | Propane | < 2,500 | Global |
| 178145-4 | 17013-4 | Natural | 2,500 - 5,000 | Global |
| 178145-5 | 17013-5 | Propane | 2,500 - 5,000 | Global |
| 178145-6 | 17013-6 | Manufactured | - | Japan |
| 178145-7 | 17013-7 | Propane | - | South Africa |
| 178145-8 | 17013-8 | B-6, C-5, C-6 | 0-2,500 | - |
| 178145-9 | 17013-9 | Propane | 7,500-10,000 | Global |
| 178145-10 | 17013-10 | Butane/Air, 20/80 | - | Isle of Man, U.K. |
| 178145-11 | 17013-11 | Natural | 7,500-10,000 | Global |
| 178145-12 | 17013-12 | Manufactured (City) | - | - |
| 178145-13 | 17013-13 | Propane | - | - |
| 178145-14 | 17013-14 | Propane | 5,000 - 7,500 | Global |
| 178145-15 | 17013-15 | Natural | 5,000 - 7,500 | Global |
| 178145-17 | 17013-17 | C4 | < 2,500 | Japan |
| 178145-18 | 17013-18 | A6 | < 2,500 | Japan |
| 178145-19 | 17013-19 | Propane/Air, 20/80 | < 2,500 | International |
| 178145-21 | 17013-21 | Natural | < 2,500 | United Kingdom (U.K.) |
| 178145-22 | 17013-22 | Natural | < 2,500 | Netherlands |
| 178145-23 | 17013-23 | Natural | < 2,500 | Hungary, Netherlands |