Element Assembly
Element Assembly Overview

| Item No. | Part No. | Description | Qty. | Stocking Level |
|---|---|---|---|---|
| 1 | 77838 | Oil diverter | 1/vat | |
| * | WS01-012 | Weld stud (for oil diverter) | 1/vat | |
| * | LW01-008 | Lock washer (for oil diverter) | 1/vat | |
| * | NS03-044 | Acorn nut (for oil diverter) | 1/vat | |
| 2 | SC01-205 | 8-32 Hex Head SS screw | 2/vat | |
| 3 | 78484-001 | Heating element, 208 VAC, 7 kW | 2 full, 1 split | B |
| 3 | 78484-002 | Heating element, 230 VAC, 7 kW | 2 full, 1 split | B |
| 3 | 78484-003 | Heating element, 480 VAC, 7 kW | 2 full, 1 split | B |
| 3 | 78484-004 | Heating element, 200 VAC, 7 kW | 2 full, 1 split | B |
| 3 | 78484-005 | Heating element, 220 VAC, 7 kW | 2 full, 1 split | B |
| 3 | 78484-006 | Heating element, 240 VAC, 7 kW | 2 full, 1 split | B |
| 3 | 86731-001 | Heating element, 208 VAC, 8.5 kW | 2 full, 1 split | B |
| 3 | 86731-002 | Heating element, 220 VAC, 8.5 kW | 2 full, 1 split | B |
| 3 | 86731-003 | Heating element, 230 VAC, 8.5 kW | 2 full, 1 split | B |
| 3 | 86731-004 | Heating element, 240 VAC, 8.5 kW | 2 full, 1 split | B |
| 4 | 74725 | Element lift handle | 1 | B |
| 5 | 152196 | Split vat rack | 1/vat | B |
| 5 | 74916 | Full vat rack | 1/vat | B |
| 6 | 14984 | Temperature probe kit (SN: April 2016 and before) | 1/vat | A |
| 6 | 140099 | Temperature sensor probe kit (SN: April 2016 and after) | 1 | A |
Recommended Parts: A = Truck Stock; B = Dist. Stock * = Not Shown | ||||
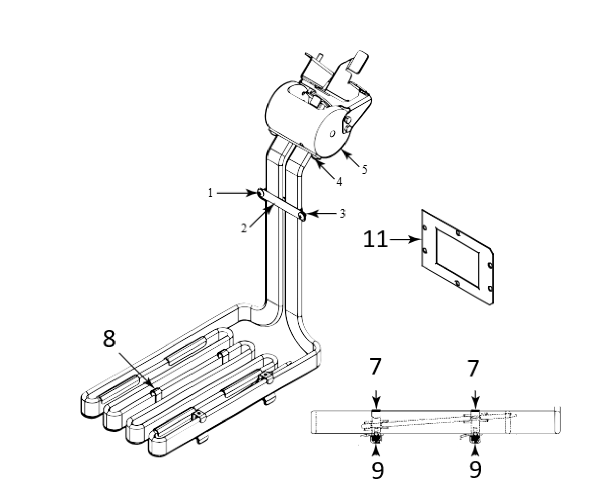
Full Vat Element Assembly Detail

Item No. | Part No. | Description | Qty. | Stocking Level |
|---|---|---|---|---|
1 | SC01-076 | 2/vat | ||
2 | 75819 | Front capillary plate | 1/vat | |
3 | 75818 | Rear capillary plate | 1/vat | |
4 | SC01-074 | 4/vat | ||
5 | 74209 | Element pivot housing | 1/vat | |
6 | 82459 | Element pivot housing, right full | 1/vat | |
7 | 78499 | Spreader strap | 6/vat | |
8 | N/A | High limit reset kit | 1/vat | |
| 8 | 77285 | - High limit - 425 (SN: LG2507044 & Below) | 1/vat | A |
| 8* | 77147 | - Stud assembly pivot hi limit bracket (SN: LG2507044 & Below) | 1/vat | |
| 8* | 96320 | - Weld assembly hi limit reset pin (SN: LG2507044 & Below) | 1/vat | |
| 8* | 96322 | - Weld assembly hi limit mounting bracket (SN: LG2507044 & Below) | 1/vat | |
| 8* | 150329 | - Spring-.043 X .200 X .750 (SN: LG2507044 & Below) | 1/vat | |
| 8* | RR01-007 | - Ring-retaining 3/16 shaft (SN: LG2507044 & Below) | 1/vat | |
9* | 78896 | Ground and wire mounting stud assembly (SN: LG2507044 & Below) (for bulb & cap high limit) | 1/vat | |
10 | 85735 | Spreader strap, right (EEE-14X - SN: BK0912003 & after) | 2/vat | |
11 | 85736 | Spreader strap, left (EEE-14X - SN: BK0912003 & after) | 2/vat | |
12 | 76964 | Pivot hub gasket | 2/vat | B |
13* | 78614 | Front high limit guard, full (SN: LG2507044 & Below) | 1/vat | |
14* | 78615 | Rear high limit guard, full (SN: LG2507044 & Below) | 1/vat | |
15* | 78494 | Spreader weld assembly, full (SN: LG2507044 & Below) (for bulb & cap high limit) | 2/vat | |
| 15 | 168383 | Spreader weld assembly, full (SN: LG2507045 & Above) (for electric high limits) | 2/vat | |
| 16* | 78503 | Element foot, full | 4/vat | |
17* | SC04-003 | 12/vat | ||
18* | OR01-004 | O-ring (fits on element against items 5 & 6) | 2/element | A |
| Recommended Parts: A = Truck Stock; B = Dist. Stock * = Not Shown | ||||
Split Vat Element Assembly

| Item No. | Part No. | Description | Qty. | Stocking Level |
|---|---|---|---|---|
| 1 | SC01-076 | Screw, 8-32 x 1/4 inch | 2/vat | |
| 2 | 75819 | Front capillary plate | 1/vat | |
| 3 | 75818 | Rear capillary plate | 1/vat | |
| 4 | SC01-074 | Screw, 10-32 x 1/2 inch | 2/vat | |
| 5 | 74209 | Element pivot housing | 1/vat | |
| 6 | N/A | High limit reset kit | 1/vat | |
| 6 | 77285 | - High limit - 425 (SN: LG2507044 & Below) | 1/vat | |
| 6 | 77147 | - Stud assembly pivot hi limit bracket (SN: LG2507044 & Below) | 1/vat | |
| 6 | 96320 | - Weld assembly hi limit reset pin (SN: LG2507044 & Below) | 1/vat | |
| 6 | 96322 | - Weld assembly hi limit mounting bracket (SN: LG2507044 & Below) | 1/vat | |
| 6 | 150329 | - Spring-.043 X .200 X .750 (SN: LG2507044 & Below) | 1/vat | |
| 6 | RR01-007 | - Ring-retaining 3/16 shaft (SN: LG2507044 & Below) | 1/vat | |
| 7 | 85735 | Spreader strap, ends (EEE-14X - SN:BK0912003 & After) | 4/vat | |
| 8 | 78499 | Spreader strap, middle | 2/vat | |
| 9 | 167382 | Element foot | 2/vat | |
| 10* | SC04-003 | Screw, 8-32 x 3/8 inch | 6/vat | |
| 11 | 76964 | Pivot hub gasket | 1/vat | B |
| 12* | OR01-004 | O-ring (fits on element against items 5 and 6) | 2/element | A |
| Recommended Parts: A = Truck Stock; B = Dist. Stock * = Not Shown ELMNT = Heating Element | ||||