Rear View


Item No. |
Part No. |
Description |
Qty. | Stocking Level |
|---|---|---|---|---|
| 1 | 78753 | Heat contactor, 24VAC coil | 1/vat | A |
| 2 | 29509 | Safety contactor, 24VAC coil | 1/vat | A |
| 3 | 18227 | Element lift switch | 1/vat | A |
| 4 | 77285 | High limit kit, 425° F See Element Assembly (SN: LG2507044 & Below) | 1/vat | A |
| 4* | See Electronic High Limit Assembly | |||
| 5 | 75381 | Power cord assembly, Straight, 208/240V, 60 amp. | A/R | |
| 5 | 91786 | Power cord assembly, 90°, 208/240V, 60 amp. | A/R | |
| 5 | 82087 | Power cord assembly, Straight, 208/240V, 50 amp. | A/R | |
| 5 | 91787 | Power cord assembly, 90°, 208/240V, 50 amp. | A/R | |
| 5 | 172876 | Cord and plug assembly, Straight, (Australia) | A/R | |
| 5 | 175001 | Cord and plug assembly, Straight, CE, IP 44 (Burger King) | A/R | |
| 5 | 181280 | Cord and plug assembly, 90°, CE, IP 67 (Burger King) | A/R | |
| 6 | 74469 | Vat fill check valve, 1/2 NPT | 1/ontrol | A |
| 7 | 154048 | Solenoid valve, 220/240VAC, 1/2 NPT | 1/control | A |
| * | -140769 | -Solenoid repair kit | A/R | |
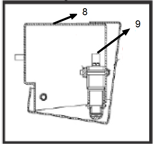
| 8 | 80153 | Switch housing w/ drain switch assembly | 1 | |
| 9 | -80148 | -Drain switch w/ boot assembly | 1 | A |
| * | -SC01-058 | -#6-32 x 1 in, PH, PHD | 2 | |
| * | -NS02-005 | -#6-32, hex keps nut | 2 | |
| 10 | 78702 | Terminal block assembly | 1/control | B |
| 10 | 86835 | Terminal block only (inside junction box) | 1 | B |
| 10 | 65427 | Terminal block assembly (inside junction box EEE 141 only) (CE) | 1 | B |
| 10 | 78705 | Terminal block assembly, international (left vat only before July 2010) | 1 | B |
| 10 | 78706 | Terminal block assembly, international (all but left vat) | 1/control | B |
| 11 | 87033 | Terminal block assembly (left vat only July 2010 and after) | 1 | B |
| 11 | 87034 | Terminal block assembly, international (left vat only July 2010 and after) | 1 | B |
| 11 | 173165 | JB and 5 pole terminal assembly (EEE 142, 143, 144) | 1 | B |
| 11 | 173166 | JB and 5 pole terminal assembly (EEE 141) | 1 | B |
| Recommended Parts: A = Truck Stock; B = Dist. Stock * = Not Shown A/R = As Required | ||||